超管后臺操作必要教程
說明:本教程是讓管理員全面集中掌握系統的設置操作,屬于超級管理員非常重要教程
一、統一登陸入口(點擊后臺登錄)
所有用戶登錄,都集中在此界面; 一般網址是: 動態域名/dl.html
主站入口:主站會員中心(發布內容) 、主站后臺、主站首頁
子站入口:各子站會員中心(發布內容) 、各子站后臺、各子站首頁標簽、各子站首頁

現在是進入主站門戶后臺!然后進行相關操作。
二、發布內容;
A:發布內容(后臺也可發布內容,一般都是文章內容)

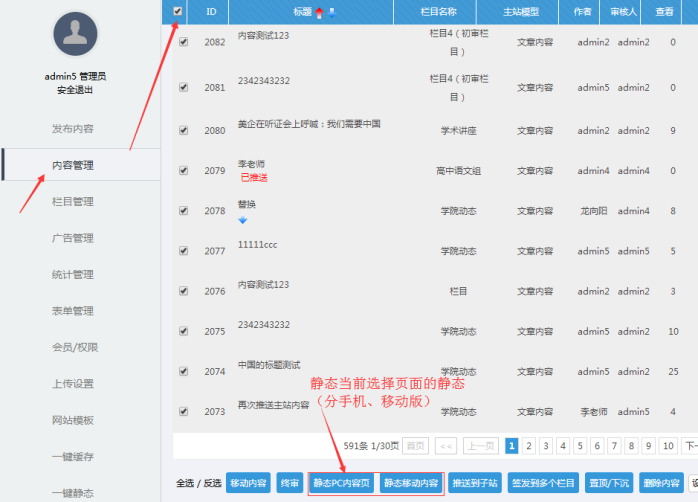
三、內容管理;
A:內容管理的入口位置。

B:內容的搜索(內容搜索 / 屬性篩選搜索)
可以根據內容的ID、內容的關鍵字、發布人賬號、作者名稱篩選內容

C:內容的審核(點擊需直接審核的,可以查看到所有待審核的內容,無論是初審還是終審)


D:內容的靜態(PC靜態 / 移動版靜態)

E:內容的刪除(勾選內容后刪除)

F:內容的移動(勾選所需內容,移動到其他欄目)

G:簽發到多個欄目(一篇內容簽發到多個欄目)

H:權重設置(權重大的在內容欄目前面)

I:屬性的設置與刪除(對內容屬性的處理,比如頭條、推薦)


J:內容的操作按鈕(內容操作的集中按鈕)

四、添加欄目;
A:可以單個添加,也可以批量添加(批量添加換行即可)

B:欄目類型選擇
. 大分類:屬于下面還有子欄目的情況,大分類不能發布內容,這個務必記住。
. 欄目:最小的分類,也是我們最常用的選擇 ,專門用于發布內容的。
. 單網頁:如果一個欄目就是一篇介紹類內容,就選擇這個,主要用于政府介紹、學校介紹。
. 外鏈 : 選擇后,輸入外鏈地址,點擊欄目即可跳轉到第三方網址。

C:欄目模型選擇
系統有多個模型,每個模型不同字段,用來存放不同要求的內容;有文章模型、圖片模型、視頻模型、下載模型、信息公開模型;絕大部分我們用文章模型。
. 文章內容:這個是最常用的,用來發布常規文章;里面也可以上傳圖片、附件下載。
. 圖片內容:這個有時候也用,如果需要那種滾動式大圖效果,可以選擇這個模型。
. 視頻內容 : 這個模型有時候也用,如果需要上傳視頻,此處可以操作。
. 下載模型 : 這個用的少,因為文章模型就可以上傳附件,提供下載。

最后點擊提交即可,欄目即可創建完成(其他的設置用默認即可,有需要可以再去修改)
五、欄目管理;
A:欄目管理入口

B:欄目預覽(第一個按鈕是靜態頁、第二個是動態,第三個是手機)

C:修改欄目(如果需要修改欄目名字和其他,點擊此處)

D:添加內容(如果需要快捷在此欄目下,添加內容, 點擊此處)

E:欄目標簽和內容標簽(如果需要顯示此欄目和此欄目下內頁的標簽,分別點擊此處)

F:欄目合并(如果需要將一個欄目的內容,合并到另外一個欄目,點擊此處)

G:欄目克隆(如果想快速的創建一批一模一樣的欄目,點擊此處)

H:欄目刪除(如果需要刪除欄目,點擊此處,實際上進去了回收站,可以一鍵恢復)

J:欄目和內容靜態(勾選欄目,分別點擊靜態欄目和靜態內容;前臺是靜態化屬于開啟狀態;如果有內容顯示不匹配,就考慮靜態化)

K:靜態化開啟方式(變為紅褐色圖標即正常)

L:欄目的排序(數字大的在前面;平級與平級之間比較)

六、統計管理;
統計管理(頂部有各種統計,其中發布人和作者可以分開統計;統計的時候需要選擇年份,然后點擊重新統計按鈕,可以導出excel)
A:主站發布人稿件統計(如果只要看主站賬號發布人的稿件統計)

B:主站作者稿件統計(如果只要看作者的稿件統計,這個作者是一個字段,發布內容時候填寫的作者名稱)

C:分站內容統計(每個站點發布了多少內容)

D:分站推送給主站的內容統計(包括投稿量和采用量)

七、會員管理;
A:會員添加

B:會員管理(刪除、修改)

C:勾選此處可以讓管理員進入后臺(分站管理員賬號需要勾選)

D:勾選這兩處變為超管(此處要慎重勾選)

八、后臺計劃任務設置;
A:比如欄目自動靜態、首頁自動靜態、數據自動備份

九、后臺附件設置;
A:比如縮略圖大小設置、附件格式

十、廣告管理;
A:比如廣告的開啟與投放

十一、權限管理;
A:角色前臺權限設置(角色權限一般設置前臺權限;角色大部分設置基礎權限即可)

B:個人權限設置(在角色的權限基礎之上,個人可以單獨設置新增權限)

C:角色后臺權限設置(角色后臺權限需要設置的比較少,主要有幾個特別的地方)

后臺權限有如下幾個地方注意:
.1) 標簽管理權限(這個主要是分站管理員需要有這個)


.2) 更新分站緩存、靜態首頁、更新首頁 (分站管理員一般都需要)

.3)內容統計權限(給主站管理員)

十二、站點管理;
A:網站群的管理都在此處

B:站群管理界面

本教程文檔下載: