主站會員中心教程
會員中心分為“主站會員中心”和“站群子站會員中心”;入口地址不同,若登陸錯誤會造成權限錯誤。
會員中心主要的作用:
就是讓所有用戶,在此處進行內容發布、內容審核、修改;同時管理員還可以進行部分系統管理,比如更新首頁、設置屬性、更新緩存。
總結一句話:內容的操作只需在會員中心處理,無需進入后臺。

一、主站會員中心和入口
A、會員中心入口
方式A:前臺進入
打開網站首頁,點擊登錄-----登錄后,點擊”會員中心”,即可進入會員中心;
主站會員中心入口還可以直接輸入地址進入:域名/u.php
另外一種可以直接在另外提供的“統一登錄入口”界面點擊進入,極其簡單快捷

方式B:統一登錄入口進入
打開統一登錄入口頁面(管理員提供); 一般網址是: 動態域名/dl.html
會員中心入口: 點擊第一個按鈕“主站門戶登錄”;即可進入。

二、發布內容
A、發布內容入口
進入會員中心-----點擊發布內容------點擊發布按鈕
一般我們只需要在第一個文章內容上發布,因為95%的內容,都在此模型發布,他可以編輯器里面同時發布圖片、視頻、附件。

B、發布內容入口方式2
進入會員中心----點擊發布內容------點擊欄目預覽-------點擊發布按鈕
點擊此處可以直接對應的欄目下發布內容和預覽對應欄目,此處發布內容可以省略選擇欄目的過程。

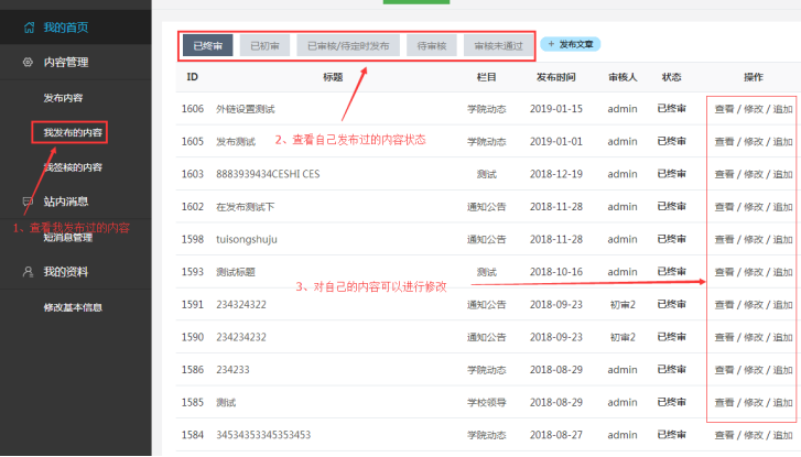
C、我發布的內容
如果需要查看自己發布的內容狀態,比如是否已經審核,還是被退稿,就可以點擊此處。
進入會員中心----我發布的內容------選擇發布的內容,各個狀態情況-------還可以對自己的內容進行修改(修改后的內容重新進入初始化審核狀態)。

三、審核內容
A、我簽核(審核)的內容
如果您是欄目管理員或系統管理員,需要對投稿人發布的內容進行審核,就是點擊此處。
進入會員中心-----點擊“我簽核的內容”-------點擊”需直接審核”按鈕-----------點擊“未審”/“已初審”按鈕

然后:選擇“終審核”(當然可以退稿)--------點擊“確定”按鈕,內容就審核通過了。

四、搜索內容并修改內容
在“我發布的內容”、”我簽核的內容”里面,輸入內容關鍵字、內容ID,即可搜索出所需內容。

點擊內容右邊修改:

五、快速更新首頁,立刻看發布內容效果
有時發布的內容,因為緩存沒有立刻在頁面上顯示;如果發布的內容要立刻看到效果,可以點擊“更新首頁”,然后刷新網站相關頁面查看效果(如果提示需要登陸后臺,則用賬號登陸后臺即可)。

六、快速批量操作,對欄目和內容進行批量操作
如果您是管理員,想添加欄目、管理欄目、批量管理內容,可以點擊此處(如果提示需要登陸后臺,則用賬號登陸后臺即可),這個按鈕主要讓用戶不需要登陸后臺,提供易用性。

點擊批量操作----頂部有內容管理、欄目管理、回收站等快捷按鈕-------右邊有欄目管理按鈕

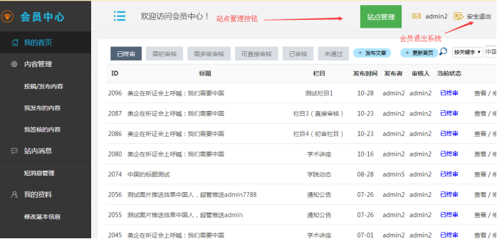
其他快捷操作:站點管理按鈕可以操作大部分快捷功能,比如登錄后臺、修改菜單等

本教程文檔下載: